Учёные НИУ «БелГУ» разработали устройство для оценки интенсивности дыхания микробной культуры
Изобретение может быть полезным в сельском хозяйстве и экомониторинге
Сегодня в хозяйственной деятельности и ряде научных отраслей широко применяется метод поверхностного культивирования микробной культуры - когда организмы искусственно выращивают на поверхности питательной среды для изучения их свойств. Такой подход помогает в дальнейшем использовать эти свойства в диагностике заболеваний, анализе микрофлоры различных объектов (пищевых продуктов, воды, воздуха), выращивании полезных микроорганизмов (заквасок, фермента, белка), а также утилизации ряда твердых отходов производств.
Однако, чтобы использовать этот метод в биотехнологии, микробиологии, агрохимии, требуется инструмент оценки роста популяции микроорганизмов.
По словам профессора кафедры биотехнологии и микробиологии НИУ «БелГУ», доктор биологических наук Инны Соляниковой, в процессе дыхания микроорганизмы выделяют углекислый газ, интенсивность его выделения напрямую отражает рост микробной культуры в аэробных (где присутствует кислород) условиях. Измерение объема углекислого газа может дать ценную информацию о том, как проходит культивирование. Поэтому необходим контроль над процессом, а также исследование различных факторов, влияющих на микробную культуру.
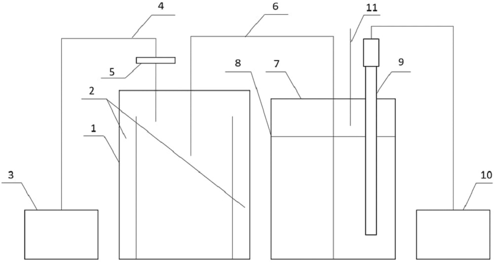
В настоящее время имеются датчики измерения концентрации углекислого газа зарубежного производства, однако они отличаются риском заражения микробной культуры, сложностью и длительностью исполнения. Предложенное учёными НИУ «БелГУ» устройство можно применять в любой испытательной лаборатории с использованием слабого раствора щелочи и рН метра. Это значительно упрощает проектирование и проведение испытаний.
- Разработанное нами устройство контролирует рост микробной культуры при поверхностном культивировании, не требуя отбора культуральной жидкости. Оно просто в использовании и сводит к минимуму риск заражения микробной культуры, - говорит Инна Соляникова.
Как поясняет аспирант кафедры биотехнологии и микробиологии НИУ «БелГУ» Никита Ляховченко, разработка позволит получать информацию о культуре микроорганизмов в заданных условиях, что поможет получить необходимые биологически активные вещества на основе бактерий.
- В устройстве используется исходящий воздух как источник информации о ходе процесса. Все компоненты легко заменяемы и воспроизводимы. Применяемые специальные электроды для определенных газов помогут определить, насколько подобраны условия для жизнедеятельности микроба, - рассказывает Никита Ляховченко.
Изобретение выполнено в рамках госзадания (Адаптивные реакции микроорганизмов: теоретические аспекты).
02.01.2023
| << Назад к списку | | Просмотров: 1847 |
Войти, чтобы оставить комментарий.

